当前位置:首页 > 专利资讯 > 正文

【专利】一种基于组合式密封的潜水电泵(专利号:201921362993.1)

来源:互联网 时间:2020-5-7 09:18 点击:115
专利号:201921362993.1
专利状态:有权
专利类型:[实用新型]
专利申请人:江苏东佳排灌机械有限公司
专利分类号:F04D29/10(20060101)
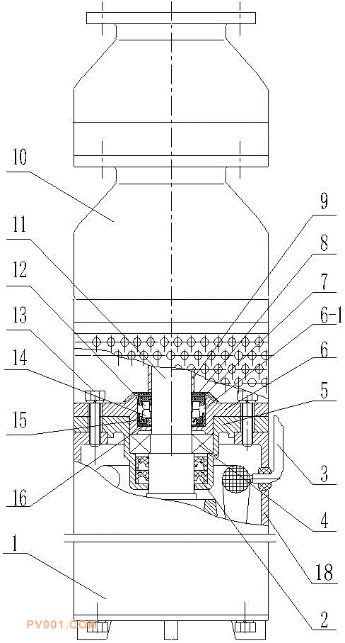
专利摘要:公开(公告)日:2020-04-17摘要:一种基于组合式密封的潜水电泵,属于潜水电泵密封技术领域。潜水电泵包括潜水电机和水泵部分;在潜水电机的位于水泵部分的下端,潜水电机的轴与水泵部分的输入轴连接;所述的潜水电机包括电缆线、轴和轴套、电机壳体和轴密封件;轴密封件安装在电机壳体的上端,潜水电机的轴穿过轴密封件,电缆线从电机壳体密封引出;在轴的上端有轴套,轴套位于水泵部分位置,被水泵叶轮紧固压实;甩沙器位于组合密封的上端,均安装在轴上,组合密封位于轴密封件的密封室内,对轴实施密封。优点:将原来单独采用骨架密封,现在改为机械密封加骨架密封及其甩沙器组合式密封装置,具备了机械密封和骨架密封的功能,从而提高了密封的可靠性和使用寿命。