当前位置:首页 > 专利资讯 > 正文

【专利】一种双吸式潜水泵(专利号:201921027097.X)

来源:互联网 时间:2020-5-6 09:12 点击:131
专利号:201921027097.X
专利状态:有权
专利类型:[实用新型]
专利申请人:安徽正元机械有限公司
专利分类号:F04D13/08(20060101)
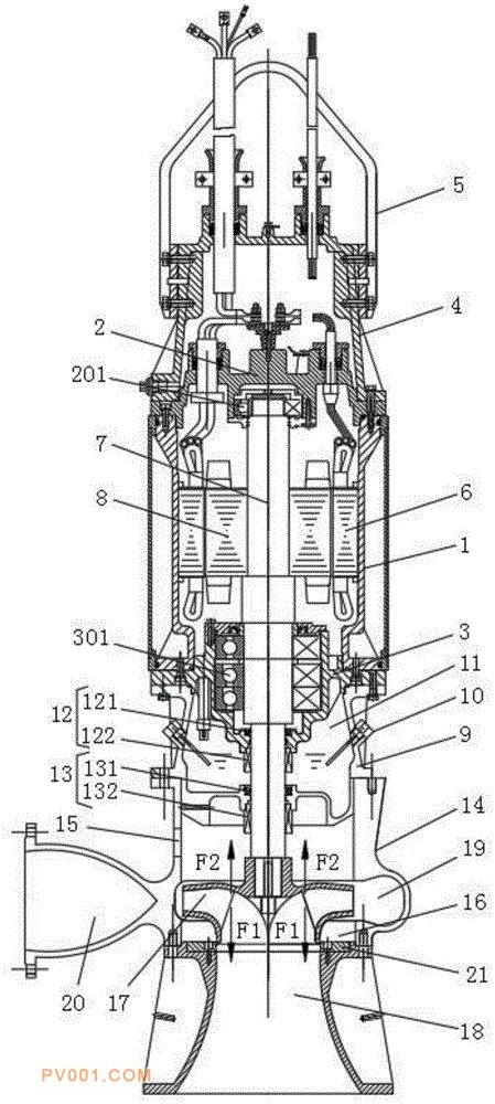
专利摘要:公开(公告)日:2020-04-17摘要:本实用新型公开了一种双吸式潜水泵,包括安装筒,安装筒的上端安装有上端盖,安装筒的下端安装有下端盖,下端盖外部外侧的表面固定安装有油壳,油壳的下端固定安装有蜗壳,安装筒内环面的中部安设有定子铁芯,定子铁芯的中心设有磁体转子,磁体转子的中心固定穿设有中轴,中轴的下端贯穿下端盖及油壳的中心并延伸至蜗壳的内部,中轴位于蜗壳内的端部安装有叶轮,蜗壳位于叶轮上方的一侧壳体开设有第一进水口,蜗壳的下端为第二进水口,第二进水口处安装有喇叭口,叶轮外侧所对应的蜗壳处形成出水通道,出水通道上与第一进水口相同的一侧设有出水口。本实用新型中的潜水泵能够大流量、高扬程的泵送液体,有利于进行推广使用。