当前位置:首页 > 专利资讯 > 正文

【专利】一种船舶用防止海水泵移位的安装机构(专利号:201810672091.1;108843898B)

来源:互联网 时间:2020-5-6 09:12 点击:143
专利号:201810672091.1;108843898B
专利状态:有权
专利类型:[发明授权]
专利申请人:芜湖精达机械制造有限公司
专利分类号:F16M11/04(20060101)
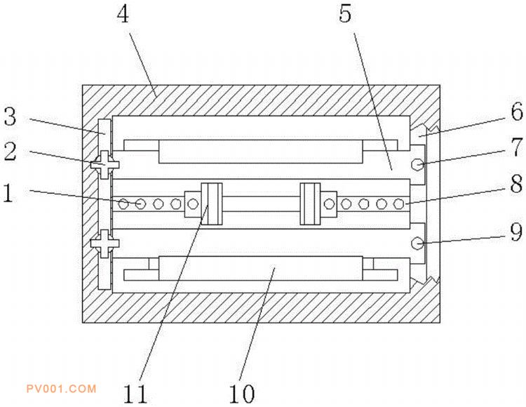
专利摘要:公开(公告)日:2020-04-17摘要:本发明公开了一种船舶用防止海水泵移位的安装机构,包括架体、支撑座、支撑板和安装座,所述架体两侧的内壁上皆设有滑轨,且滑轨位置处的架体顶部设有滑道,支撑板两侧的架体内侧皆设有支撑座,所述支撑座的两端皆设有螺栓孔,架体的底部均匀安装有减震弹簧,且减震弹簧远离架体的一端连接有支撑杆,所述支撑杆的外侧设有连接杆,所述支撑杆的底部安装有安装座,且安装座的顶部设有与连接杆相互配合的凹槽。本发明通过在架体内侧的中间位置处设置支撑板,且支撑板的顶部均匀设置限位孔,支撑板上套接相互对应的夹持块,且夹持块的一侧设置与限位孔相互配合的限位栓,便于对海水泵进行夹持与限位,防止海水泵移位。