当前位置:首页 > 专利资讯 > 正文

【专利】具有应用优化的结构的冷却剂泵(专利号:201880055533.6)

来源:互联网 时间:2020-5-5 11:44 点击:146
专利号:201880055533.6
专利状态:审中-公开
专利类型:[发明]
专利申请人:尼得科GPM有限公司
专利分类号:F01P5/10(20060101)
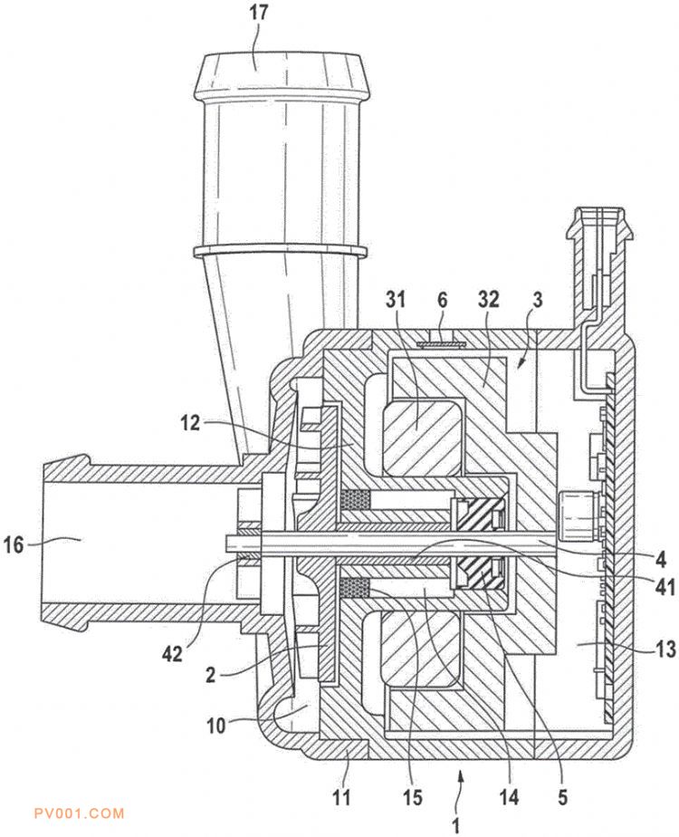
专利摘要:公开(公告)日:2020-04-17摘要:一种优选地用于在车辆中用作附加水泵的电动冷却剂泵,其特征在于,轴(4)的径向支承借助冷却剂润滑的径向滑动轴承(41)来提供,所述径向滑动轴承(41)布置在泵叶轮(2)和转子(32)之间;具有径向内定子(31)和径向外转子(32)的干式运行电动机(3)收纳在与泵室(10)分隔的电动机室(13)中;轴密封件(5)布置在径向滑动轴承(41)和电动机室(13)之间;转子(32)构成为钟形状,其内表面面向轴密封件(5)并与所述轴密封件(5)轴向重叠地固定在轴(4)上;以及电动机室(13)具有通向大气的开口,所述开口由液体密封的且蒸汽能渗透的压力平衡膜片(6)封闭。