当前位置:首页 > 专利资讯 > 正文

【专利】安装板及空气源热泵室内机(专利号:201921406909.1)

来源:互联网 时间:2020-4-29 16:04 点击:140
专利号:201921406909.1
专利状态:有权
专利类型:[实用新型]
专利申请人:广东美的制冷设备有限公司
专利分类号:美的集团股份有限公司
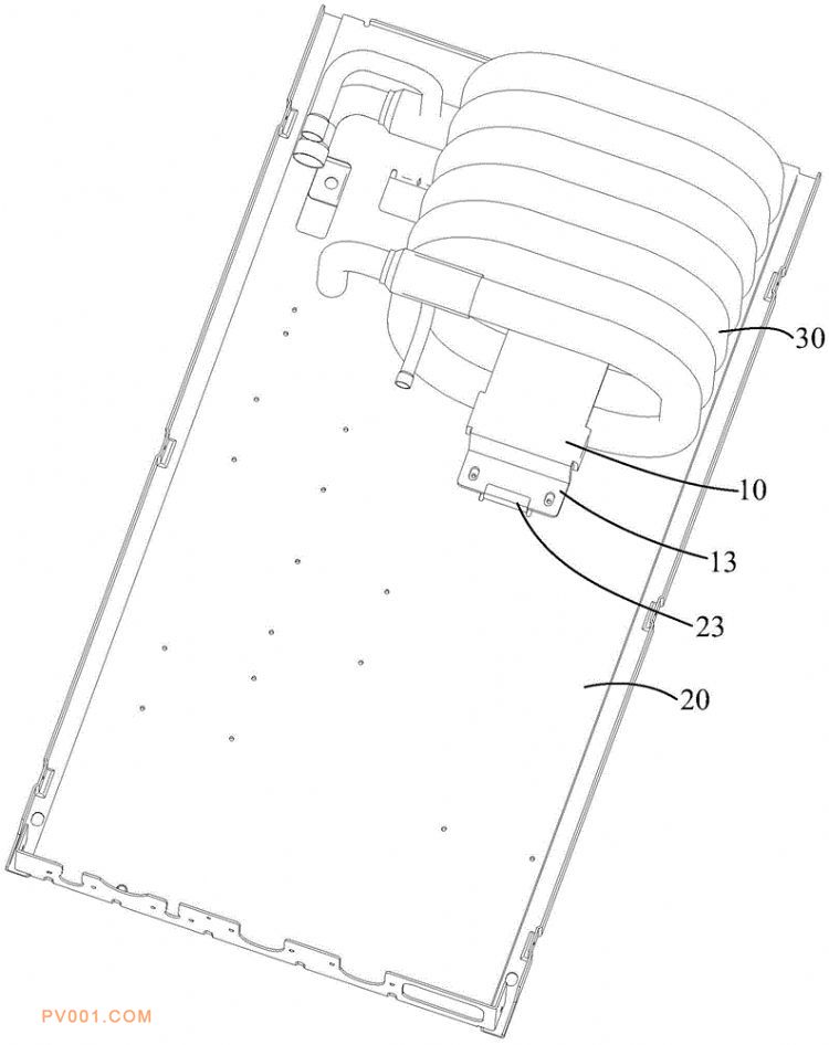
专利摘要:公开(公告)日:2020-04-21摘要:本实用新型公开一种安装板及空气源热泵室内机,安装板,应用于空气源热泵室内机,空气源热泵室内机包括壳体及套管换热器,安装板包括:板体,板体用以连接壳体与套管换热器;加固筋,凸设于板体的侧边,用以固定抵接于套管换热器。本实用新型安装板通过在板体的侧边设置加固筋,用以固定抵接于套管换热器,从而可提高安装板整体与套管换热器的固定面积,以提高安装板与套管换热器的连接强度。