当前位置:首页 > 专利资讯 > 正文

【专利】一种燃气灶的机械式阀门装置(专利号:201921050724.1)

来源:互联网 时间:2020-4-28 16:15 点击:170
专利号:201921050724.1
专利状态:有权
专利类型:[实用新型]
专利申请人:周宇戈
专利分类号:F16K31/62(20060101)
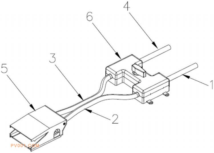
专利摘要:公开(公告)日:2020-04-21摘要:本实用新型涉及燃气阀技术领域,公开了一种燃气灶的机械式阀门装置,包括第一进气管,还包括第二进气管、第一出气管、第二出气管、脚踏控制阀、留火阀装置;所述第一进气管的一端连通于第二进气管和留火阀装置,所述第二进气管通过脚踏控制阀与第一出气管连通,所述第一出气管与第二出气管相通,所述留火阀装置与第二出气管相通。阀门装置利用第二出气管与燃灶连接,第一进气管和燃气连接,本阀门装置采用了机械式的结构,利用脚踏控制方式不但操作更加方便、节能,而且可以避免因电磁控制带来的不安全因素。