当前位置:首页 > 专利资讯 > 正文

【专利】一种侧装式偏心半球阀(专利号:201920902412.2)

来源:互联网 时间:2020-4-27 12:21 点击:128
专利号:201920902412.2
专利状态:有权
专利类型:[实用新型]
专利申请人:浙江苏创阀业有限公司
专利分类号:F16K5/06(20060101)
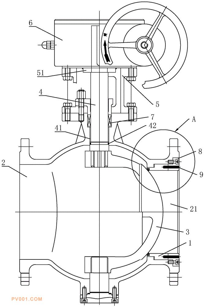
专利摘要:地址:325102 浙江省温州市永嘉县瓯北街道和一村(浙江船工阀门有限公司内)公开(公告)日:2020-04-21摘要:本实用新型公开了一种侧装式偏心半球阀,包括有阀座、阀体、阀芯、上阀杆、支架以及执行器,所述阀体内开设有流道,阀体和上阀杆之间安装有填料,所述流道口处安装有压板,所述压板固定连接于阀体上并且抵接于阀座外侧,所述压板上贯穿有至少三枚用于防阀座错位的销钉,所述销钉还穿入至阀座内并与阀座固定连接。通过销钉将阀座安装于压板上,避免阀座移位导致直接抱死阀芯,有利于延长阀座使用寿命。