当前位置:首页 > 专利资讯 > 正文

【专利】一种具有排污功能的二阀组(专利号:201921116375.9)

来源:互联网 时间:2020-4-25 11:21 点击:86
专利号:201921116375.9
专利状态:有权
专利类型:[实用新型]
专利申请人:温州正义仪表阀门有限公司
专利分类号:F16K1/32(20060101)
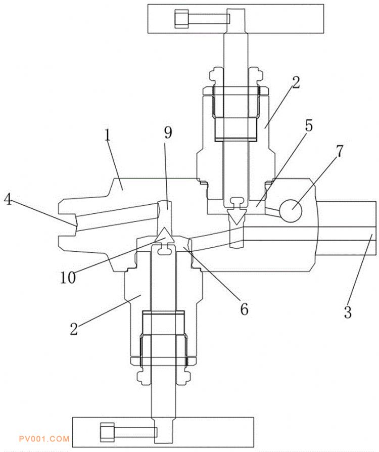
专利摘要:公开(公告)日:2020-04-21摘要:本实用新型创新提供了一种能对管道进行先进行排污的二阀组。该种具有排污功能的二阀组,包括阀座以及连接在阀座上的两组阀杆,所述阀座两侧分别设有进口和出口,所述阀座上表面和下表面分别设有上连接槽和下连接槽,所述两组阀杆分别连接在连接槽内,所述阀座一侧面还开设有排污槽,所述排污槽上连接有可拆卸的塞子,所述进口与上连接槽相通,所述上连接槽与排污槽相通,所述上连接槽与下连接槽相通,所述下连接槽与出口相通。这种二阀组,阀座上设有的两组阀杆以及塞子能实现对管道或仪器进行排污。