当前位置:首页 > 专利资讯 > 正文

【专利】潜污泵自降温装置(专利号:201810942907.8;109139563B)

来源:互联网 时间:2020-4-24 08:27 点击:95
专利号:201810942907.8;109139563B
专利状态:有权
专利类型:[发明授权]
专利申请人:北京市朝阳水利工程有限公司
专利分类号:F04D29/58(20060101)
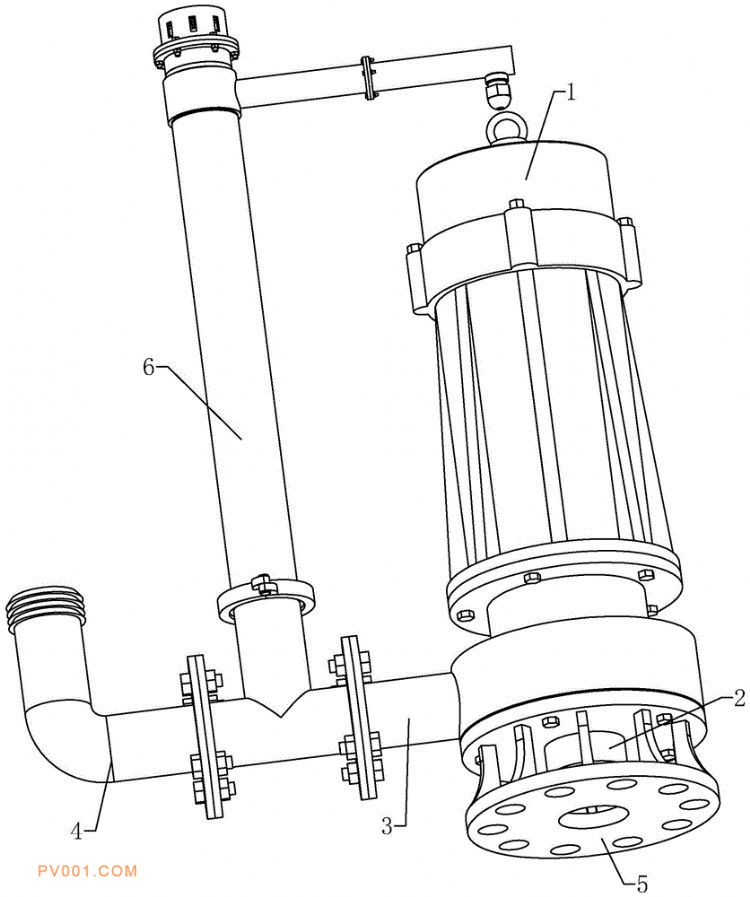
专利摘要:公开(公告)日:2020-03-31摘要:本发明公开了一种潜污泵自降温装置,涉及潜污泵技术领域,其技术方案要点是包括安装在潜污泵出水口和排水管之间的三通管,三通管上三个端口中的其中两个分别与出水口和排水管连接;三通管的另一个端口的方向上连接有安装管,安装管上连接有连接管,连接管远离安装管的一端连接有喷头;在安装管与连接管的连接处还设置有控制喷头喷水的开关。本发明解决了潜污泵的使用场所有时会因为水位下降的原因而导致潜污泵的部分露出水面,并且在潜污泵继续运行时,潜污泵自身会产生一定的热量,这些热量在散发时的速度小于发热的速度的问题,通过在潜污泵上安装有用于对潜污泵进行降温的装置,让潜污泵在露出水面进行工作时更方便进行降温。