当前位置:首页 > 专利资讯 > 正文

【专利】一种复叠热泵及其控制方法(专利号:202010238971.5)

来源:互联网 时间:2020-6-27 13:20 点击:223
专利号:202010238971.5
专利状态:审中-公开
专利类型:[发明]
专利申请人:宁波奥克斯电气股份有限公司
专利分类号:宁波奥克斯智能商用空调制造有限公司
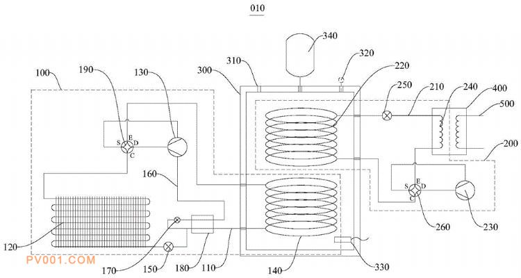
专利摘要:公开(公告)日:2020-06-19摘要:本申请实施例提供一种复叠热泵及其控制方法,涉及热泵技术领域。本申请实施例的复叠热泵通过设置用于存储换热介质的换热箱,使得低温级环路可以先通过第二换热组件加热换热介质,再利用高温级环路的第三换热组件从换热介质获取热量,并利用第四换热组件加热目标介质。高温级环路在加热目标介质时是从换热介质获取热量,因此通过这种方案可以实现低温级环路和高温级环路不同时运行。如果高温级环路需要反复启停,来加热目标介质时,低温级环路不需要反复启动,只需要保证换热介质具有足够的热量供应给高温级环路即可,因此其使用寿命可以得到延长。本申请实施例的控制方法用于控制本申请实施例提供的复叠热泵,可以实现具有时差的两级加热。