当前位置:首页 > 专利资讯 > 正文

【专利】一种用于泵对中精调的装置(专利号:201921638215.0)

来源:互联网 时间:2020-6-27 11:57 点击:208
专利号:201921638215.0
专利状态:有权
专利类型:[实用新型]
专利申请人:福建福清核电有限公司
专利分类号:B25B11/00(20060101)
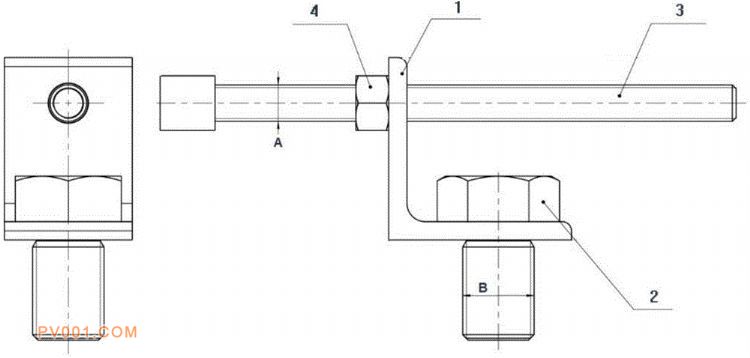
专利摘要:公开(公告)日:2020-06-19摘要:本实用新型属于机械检修技术领域,具体涉及一种用于泵对中精调的装置。包括L型支架,螺栓,顶推螺杆和螺母;L型支架的底板中心开孔,通过螺栓固定于设备底座上;L型支架的侧壁设有导向螺孔,用于安装顶推螺杆和螺母。所述的顶推螺杆由螺杆、顶推头、内六角螺钉组成,顶推头通过内六角螺钉固定在螺杆上。本实用新型能够避免传统方法中多次测量、计算和调整的过程,实现快速、准确地完成水泵联轴器对中的目的。