当前位置:首页 > 专利资讯 > 正文

【专利】活塞泵(专利号:201921390842.7)

来源:互联网 时间:2020-6-27 09:46 点击:219
专利号:201921390842.7
专利状态:有权
专利类型:[实用新型]
专利申请人:比亚迪股份有限公司
专利分类号:F04B9/02(20060101)
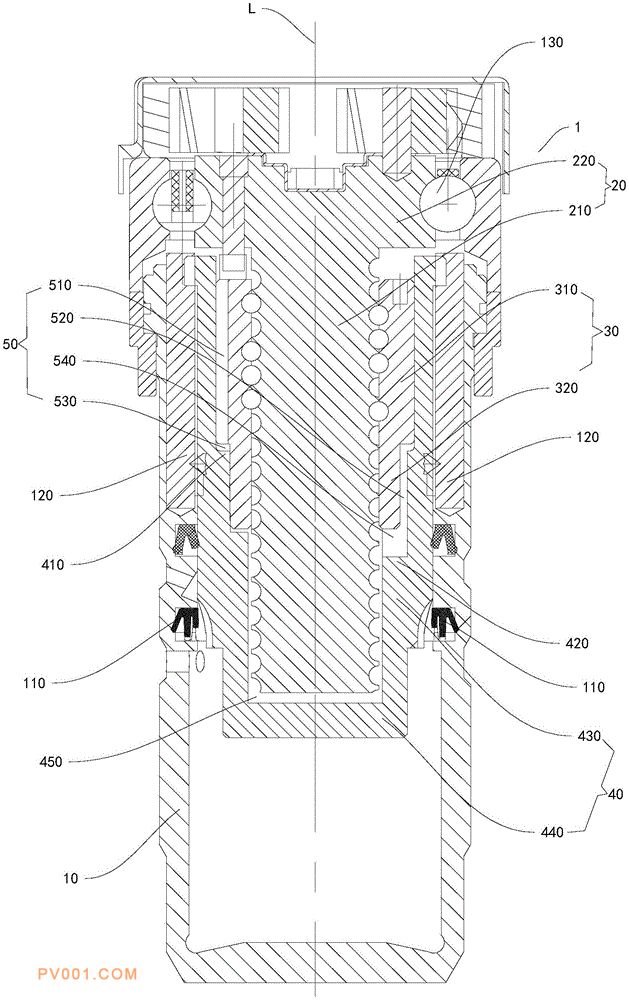
专利摘要:公开(公告)日:2020-06-19摘要:本实用新型公开了一种活塞泵,所述活塞泵包括:壳体;丝杆,所述丝杆可转动地安装于所述壳体;螺母,所述螺母套设于所述丝杆且与所述丝杆螺纹配合;活塞,所述活塞套设于所述螺母且与所述丝杆之间限定出空腔,所述丝杆转动时所述活塞在所述螺母的带动下做线性运动;其中,所述螺母和所述活塞中的至少一个上设有与所述空腔连通的通气通道。根据本实用新型实施例的活塞泵具有运动阻力小、能够降低能耗低等优点。