当前位置:首页 > 专利资讯 > 正文

【专利】一种齿轮式柴油输油泵(专利号:201921639811.0)

来源:互联网 时间:2020-6-27 09:24 点击:230
专利号:201921639811.0
专利状态:有权
专利类型:[实用新型]
专利申请人:泰兴市万翔转向器有限公司
专利分类号:F04C15/00(20060101)
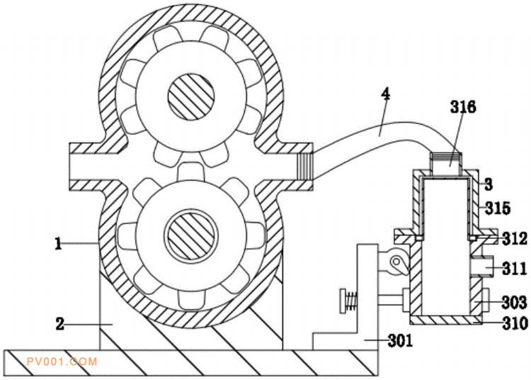
专利摘要:公开(公告)日:2020-06-19摘要:本实用新型公开了一种齿轮式柴油输油泵,包括输油泵,所述输油泵的底端设置有底座,所述底座的顶端且位于输油泵的右侧设置有过滤机构,所述过滤机构的顶端螺接有软管的一端,所述软管的另一端螺接有输油泵,所述底座的顶端右侧设置有支架,且支架的前后两端沿左右方向均插接有长杆,所述底壳的顶端沿顺时针均开设有卡槽,所述底壳的顶端设置有顶壳,所述卡块的内侧设置有过滤网,所述顶壳的顶端开口处过盈配合有出油口。该齿轮式柴油输油泵,实时过滤,有效防止吸油口被污物堵塞,降低吸入流量减少,吸油不畅,泵旋转不灵活等一系列的概率,使其柴油无法参杂入灰尘或是杂质,出现卡死现象,保证了后续使用,有利于推广。