当前位置:首页 > 专利资讯 > 正文

【专利】一种磁控阀(专利号:201921222750.8)

来源:互联网 时间:2020-6-23 14:57 点击:185
专利号:201921222750.8
专利状态:有权
专利类型:[实用新型]
专利申请人:逄焕祥
专利分类号:F16K31/06(20060101)
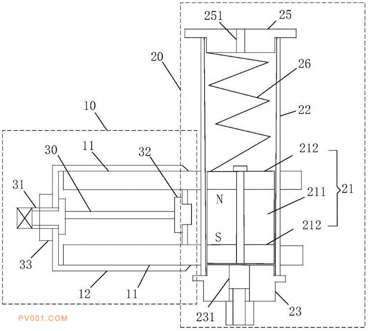
专利摘要:公开(公告)日:2020-05-26摘要:本实用新型实施例公开了一种磁控阀,包括:阀体,具有中空内腔,所述中空内腔设有相对设置的两个导磁极板;所述导磁极板间形成有流通通道;控制装置,设置在所述阀体的外侧;所述控制装置包括可移动磁性体;所述磁性体移动至第一位置时,所述磁性体的两磁极分别与所述两个导磁极板对应,所述两个导磁极板间产生磁场;所述磁性体移动至第二位置时,所述磁性体的两磁极均远离所述两个导磁极板,所述两个导磁极板间磁场消失。本实用新型实施例提供的技术方案,通过变换磁性体的不同位置以改变两个导磁极板间磁场,从而控制钢丸是否流通。磁控阀结构简单紧凑,磁路变换简单,避免了因阀板磨损产生泄露的问题。