当前位置:首页 > 专利资讯 > 正文

【专利】一种旁路泄压的无负压刀型闸阀(专利号:201921705604.0)

来源:互联网 时间:2020-6-22 12:08 点击:245
专利号:201921705604.0
专利状态:有权
专利类型:[实用新型]
专利申请人:浙江申奥阀门制造有限公司
专利分类号:F16K3/02(20060101)
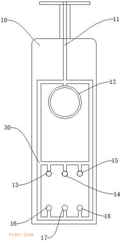
专利摘要:公开(公告)日:2020-05-26摘要:本实用新型公开了一种旁路泄压的无负压刀型闸阀,涉及刀型闸阀设备领域,为解决需要减小刀型闸阀开启和关闭时的压力变化的问题。阀杆的下方设置有框架,框架的上端的中部与阀杆的下部固定连接,主阀板位于框架的上端的下方,阀体的下部并排设置有旁路一、旁路二和旁路三,框架的下端设置有三根向上的支柱,支柱的上端分别并排设置有下阀板一、下阀板二和下阀板三,框架的下端的上方设置有横梁,横梁上设置有三根向下的支杆,支杆的下端分别并排设置有上阀板一、上阀板二和上阀板三,上阀板一、上阀板二和上阀板三分别位于下阀板一、下阀板二和下阀板三的上方。