当前位置:首页 > 专利资讯 > 正文

【专利】一种防止销钉类工具中途动作用的抽油泵进油装置(专利号:201921659543.9)

来源:互联网 时间:2020-6-17 09:24 点击:186
专利号:201921659543.9
专利状态:有权
专利类型:[实用新型]
专利申请人:山东四通石油技术开发有限公司
专利分类号:F04B53/00(20060101)
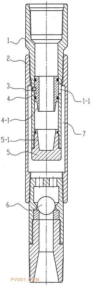
专利摘要:公开(公告)日:2020-05-26摘要:一种防止销钉类工具中途动作用的抽油泵进油装置,井液能从单流阀的下部向上流,不能从单流阀的上部向下流,联通接头的中部有联通槽,滑套安装在联通接头内,滑套覆盖所述的联通槽,滑套由销钉固定在联通接头内,下井到位后能由后下入的抽油泵活塞推落到联通接头的底部,联通接头的底部封闭,联通接头的上部有与抽油泵泵筒连接的螺纹,连接管的上部与联通接头连接,连接点处于所述的联通槽之上,连接管的下部是单流阀,联通接头的外壁与连接管的内部之间有环流通道,安装在抽油泵的泵筒之下,下井时井液不会进入泵内,管柱上连接的销钉类工具的内部压力不会高于外部压力,下井时销钉类工具上的销钉不会被剪断,保证抽油管柱下井成功。