当前位置:首页 > 专利资讯 > 正文

【专利】分抽混出潜油电动螺杆泵抽油装置(专利号:202010285101.3)

来源:互联网 时间:2020-6-16 08:19 点击:166
专利号:202010285101.3
专利状态:审中-公开
专利类型:[发明]
专利申请人:冯新永
专利分类号:E21B43/14(20060101)
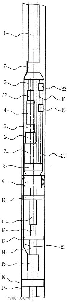
专利摘要:公开(公告)日:2020-05-29摘要:一种分抽混出潜油电动螺杆泵抽油装置,三通接头、上泵出油管、上螺杆泵、上连接轴总成、上电机保护器、上潜油电机、下部出油接头、封隔器、下螺杆泵、下连接轴总成、下电机保护器、下潜油电机依次连接,下泵电缆的下端接入下潜油电机,上泵电缆的下端接入上潜油电机,下泵出油管的下端与下部出油接头上部的偏心出油口连接,下泵出油管的上端与三通接头下部的偏心进油口连接,上述部件组装成一体的连接在泵上油管的下部下入套管内,封隔器处于被抽油的两个油层之间,封隔器扩张后紧贴在套管的内壁上,下螺杆泵抽出的井液经下泵出油管排出至三通接头,上螺杆泵抽出的井液经上泵出油管排出至三通接头,能在有层间差异的小排量井、稠油井、出砂井上分抽。