当前位置:首页 > 专利资讯 > 正文

【专利】稳流器及其流量调节阀(专利号:201921155116.7)

来源:互联网 时间:2020-6-15 11:48 点击:195
专利号:201921155116.7
专利状态:有权
专利类型:[实用新型]
专利申请人:宁波佳音机电科技股份有限公司
专利分类号:F16K17/34(20060101)
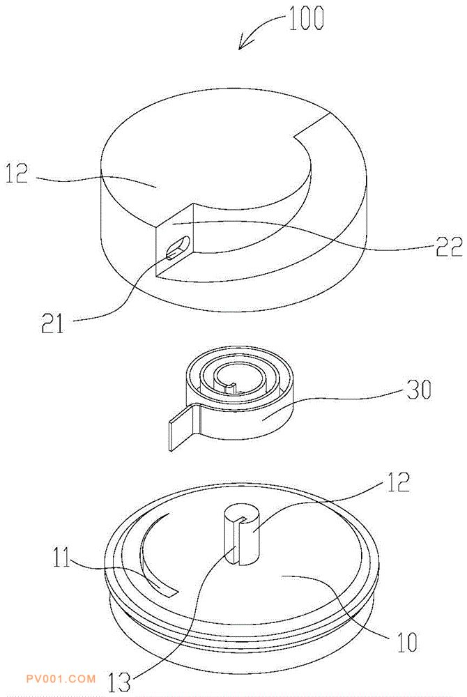
专利摘要:公开(公告)日:2020-05-19摘要:本实用新型请求保护的稳流器及其流量调节阀,所述稳流器包括节流板,可转动地设于所述节流板上的旋转板,及设于所述节流板和所述旋转板之间的弹性件;所述节流板上开设有导流孔,所述旋转板上开设有通槽,所述通槽与所述导流孔连通;所述弹性件分别与所述节流板和所述旋转板连接,所述旋转板受液压驱动时能够在所述节流板上转动,且转动的所述旋转板能够作用于所述弹性件并对所述节流板上的导流孔进行部分封堵。本实用新型能够利用液体作用在旋转板上所形成对旋转板的压力,来弹性调节对节流板上导流孔的部分封堵,以此达到途经该稳流器的液体以稳定的流量向外导出。