当前位置:首页 > 专利资讯 > 正文

【专利】一种用于易燃易爆气体管道的盲板阀(专利号:201921383085.0)

来源:互联网 时间:2020-6-13 13:40 点击:189
专利号:201921383085.0
专利状态:有权
专利类型:[实用新型]
专利申请人:苏州赛硕拉不锈钢制品有限公司
专利分类号:F16K13/00(20060101)
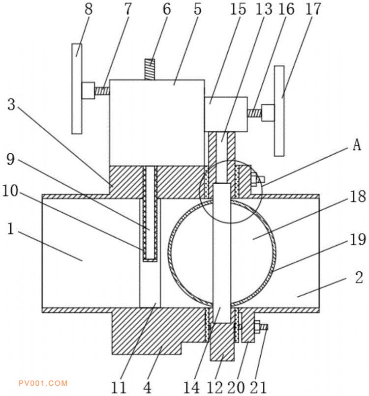
专利摘要:公开(公告)日:2020-05-19摘要:本实用新型公开了一种用于易燃易爆气体管道的盲板阀,涉及盲板阀技术领域,包括左阀本体、右阀本体和右连接阀,所述左阀本体的顶部右侧固定连接有支撑块,所述左阀本体的底部右侧固定连接有连接块,所述支撑块的顶部固定安装有螺纹传动箱体,所述螺纹传动箱体的内部固定安装有第一丝杆和第二丝杆,所述第一丝杆的底部固定连接有传动阀板。本实用新型通过左阀本体和右阀本体的设置,两者内部的传动阀板和转动阀板配合使用形成双层阀板,提升了装置的气密性,防止煤气泄漏,传动阀板和转动阀板设置在装置内部进行打开闭合,提升了装置的气密性,并且使得装置体积较小,减小占用面积。