当前位置:首页 > 专利资讯 > 正文

【专利】大流道单流双向井口阀(专利号:201921250791.8)

来源:互联网 时间:2020-6-13 11:38 点击:204
专利号:201921250791.8
专利状态:有权
专利类型:[实用新型]
专利申请人:张喜民
专利分类号:F16K15/04(20060101)
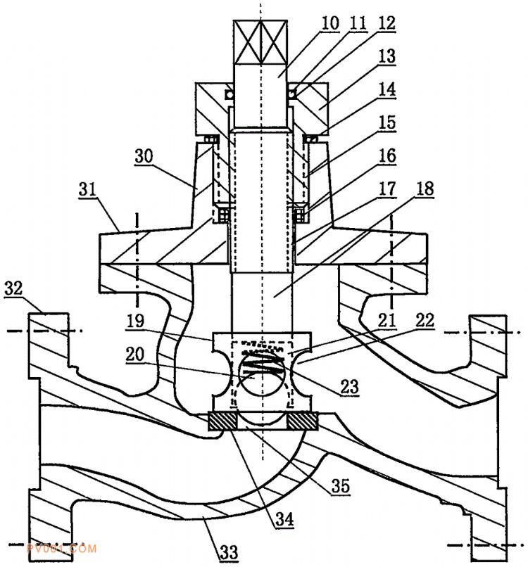
专利摘要:公开(公告)日:2020-05-19摘要:一种大流道单流双向井口阀,用于流体的杂质较多的污水、污油的采油井口管路上,包括阀体、法兰、阀盖盘、阀盖座、阀杆、密封座,其特征是:在阀杆的上段设有与压盖(13)配合的阀杆螺纹(17),在压盖(13)的环槽(12)内安装有阀杆上O圈(11),压盖(13)与压盖座(31)间安装有压盖O圈(14),在阀盖座(31)内、压盖(13)下端安装有阀杆下O圈(16);在阀杆连接段(18)的下端连接有带侧过流孔(22)的阀坨笼(19),阀坨笼(19)的阀球腔(21)内装弹簧(23)、阀球(20),阀球(20)的直径大于阀球腔(21)下端口的直径,阀坨笼(19)的下环面与密封座(34)的上环面配合。当管路出现冻凝、堵塞意外时,方便抢修处理,不需要更换阀门