当前位置:首页 > 专利资讯 > 正文

【专利】防回流离心泵(专利号:201921145808.3)

来源:互联网 时间:2020-5-29 14:12 点击:164
专利号:201921145808.3
专利状态:有权
专利类型:[实用新型]
专利申请人:新界泵业(浙江)有限公司
专利分类号:F04D1/00(20060101)
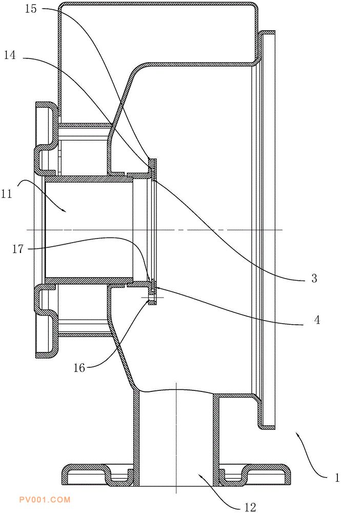
专利摘要:公开(公告)日:2020-05-22摘要:本实用新型涉及一种防回流离心泵,解决现有技术存在的叶轮和泵体之间存在间隙、摩擦及碰撞等问题,采用的技术方案:所述泵体止口处设置一浮动密封圈,所述浮动密封圈的内径小于所述泵体止口的内径,所述浮动密封圈的内环面与所述叶轮口环紧配合。其效果:增设浮动密封圈,浮动密封圈设置在泵体止口也叶轮口环之间,浮动密封圈随着叶轮旋转,避免叶轮与泵体止口之间接触,也避免叶轮跟泵体止口之间发生直接的碰撞,提高叶轮的使用寿命,而且浮动密封圈填充了叶轮口环与泵体止口之间的间隙,有效减少了介质通过叶轮口环与泵体止口之间的间隙回流的程度,甚至能够避免回流情况的出现。