当前位置:首页 > 专利资讯 > 正文

【专利】一种柴油机用喷油泵(专利号:201921206660.X)

来源:互联网 时间:2020-5-29 10:06 点击:155
专利号:201921206660.X
专利状态:有权
专利类型:[实用新型]
专利申请人:石家庄恒信机械设备股份有限公司
专利分类号:F02M59/44(20060101)
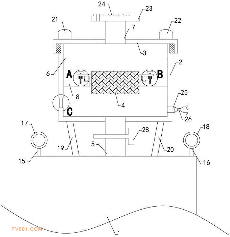
专利摘要:公开(公告)日:2020-05-22摘要:本实用新型涉及柴油机附属装置的技术领域,特别是涉及一种柴油机用喷油泵,可便于滤油网的安装和拆卸,提高使用便利性;包括喷油泵本体、箱体、箱盖和滤油网,喷油泵本顶部输入端设置有进油管,箱体内部设置有工作腔,箱盖内部设置有内腔,箱体底端中央区域纵向设置有连接孔,箱盖顶端中央区域连通设置有输油管;还包括固定板、安装板、左弹簧、右弹簧、左螺栓、右螺栓和橡胶密封圈,固定板顶端中央区域纵向设置有安装孔,安装板顶端中央区域纵向设置有固定孔,安装板顶端左半区域和右半区域分别纵向设置有左螺纹孔和右螺纹孔,固定板顶端左半区域和右半区域分别设置有左螺纹槽和右螺纹槽,固定板顶端设置有环形密封槽。