当前位置:首页 > 专利资讯 > 正文

【专利】一种用于包装机的柱塞泵(专利号:201920889741.8)

来源:互联网 时间:2020-5-28 14:46 点击:212
专利号:201920889741.8
专利状态:有权
专利类型:[实用新型]
专利申请人:武汉市海泰伟创科技有限公司
专利分类号:B65B37/06(20060101)
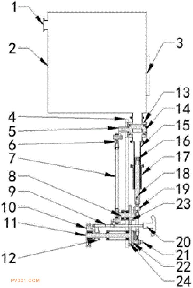
专利摘要:公开(公告)日:2020-05-12摘要:本实用新型提供一种用于包装机的柱塞泵,包括料桶、安装机板、换向阀摆臂、换向阀连杆、移动离合器、离合器拉杆、料缸和料缸齿轮。本实用新型提供的柱塞泵安装有料缸,且料缸的下料量可调,提高了柱塞泵的供料精度;料缸采用下置式垂直料缸,进料速度大于水平料缸;换向阀阀体、料缸以及料桶的出料口均采用快装接头联接,便于拆卸,方便清洗及维修。