当前位置:首页 > 专利资讯 > 正文

【专利】一种微型直流齿轮水泵正反向泵水应用装置(专利号:201921387921.2)

来源:互联网 时间:2020-5-28 14:15 点击:199
专利号:201921387921.2
专利状态:有权
专利类型:[实用新型]
专利申请人:徐东权
专利分类号:F04C14/04(20060101)
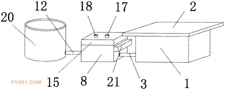
专利摘要:公开(公告)日:2020-05-12摘要:本实用新型公开了一种微型直流齿轮水泵正反向泵水应用装置,包括水箱、箱盖、第一连接管、第一电磁阀、第一螺纹管、第一连接头、第二连接管、水泵壳、微型直流齿轮水泵、第三连接管、第二连接头、第四连接管、第二螺纹管、第一限位环、控制壳、控制线路板、正转开关、反转开关、第二电磁阀、水桶本体、电源和第二限位环。该种微型直流齿轮水泵正反向泵水应用装置结构简单,可以轻松实现给雾化壁炉的水箱加水和排水,避免频繁揭开水箱盖、频繁移动潜水泵、频繁连接水管的情况,大大减少客户的工作量,提高效率,通过第一连接机构以及第二连接机构的作用下,便于通过微型直流齿轮水泵将木桶本体和水箱本体进行连通,操作较为简单,节省连接时间。