当前位置:首页 > 专利资讯 > 正文

【专利】一种方便固定在水底的潜水泵(专利号:201921380531.2)

来源:互联网 时间:2020-5-28 12:28 点击:195
专利号:201921380531.2
专利状态:有权
专利类型:[实用新型]
专利申请人:盐城市海河泵业有限公司
专利分类号:F04D29/70(20060101)
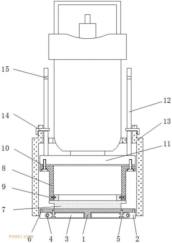
专利摘要:公开(公告)日:2020-05-12摘要:本实用新型公开了一种方便固定在水底的潜水泵,包括底座和承载台,所述底座的下端面开设有凹槽,且凹槽内设置有转板,所述转板通过第一螺栓固定在底座上,且第一螺栓设置在螺纹孔内,所述承载台固定在底座的上端面,且承载台的外侧设置有滤网,所述滤网的下侧通过第二螺栓固定在承载台上,且滤网的上侧通过第三螺栓固定在潜水泵主体的底部,所述承载台的外侧设置有承载框,所述限位杆设置在潜水泵主体上,且限位杆贯穿防尘罩,所述固定销贯穿防尘罩和固定孔,且固定孔开设在限位杆上。该方便固定在水底的潜水泵,取下第一螺栓后,转板可在轴杆的作用下转动180度,以此增大底座与地面的接触面积,从而使该装置更稳定的放置在水底。