当前位置:首页 > 专利资讯 > 正文

【专利】一种气动式闸阀(专利号:201921548639.8)

来源:互联网 时间:2020-5-18 09:53 点击:174
专利号:201921548639.8
专利状态:有权
专利类型:[实用新型]
专利申请人:浙江瑞邦控制阀门有限公司
专利分类号:F16K3/02(20060101)
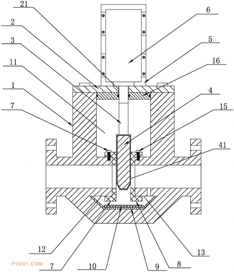
专利摘要:公开(公告)日:2020-05-08摘要:本实用新型公开了一种气动式闸阀,包括阀体、阀盖、阀杆和闸板,阀体内设置有阀腔,阀盖的上端面中部竖向设置有一个气缸支架,气缸支架上可拆卸设置有升降气缸,升降气缸的活塞杆下端穿过活塞杆活动孔后与阀杆的上端焊接固定;阀腔左端固定设置有介质流入管,介质流入管右端螺纹连接有一个第一弹性密封阀座;阀腔右端固定设置有介质流出管,介质流出管左端螺纹连接有一个第二弹性密封阀座,闸板安装在第一弹性密封阀座和第二弹性密封阀座之间,阀腔的底部堆焊有一层第一镍基耐磨合金层,第一镍基耐磨合金层的上表面上固定粘接有闸板定位缓冲垫。上述技术方案,结构设计合理、结构简单、维修方便、密封性能好、不易泄漏、使用方便且实用性好。