当前位置:首页 > 专利资讯 > 正文

【专利】气动缓冲角座阀(专利号:202010021900.X)

来源:互联网 时间:2020-5-16 12:06 点击:161
专利号:202010021900.X
专利状态:审中-公开
专利类型:[发明]
专利申请人:玉环比得宝气阀有限公司
专利分类号:F16K1/00(20060101)
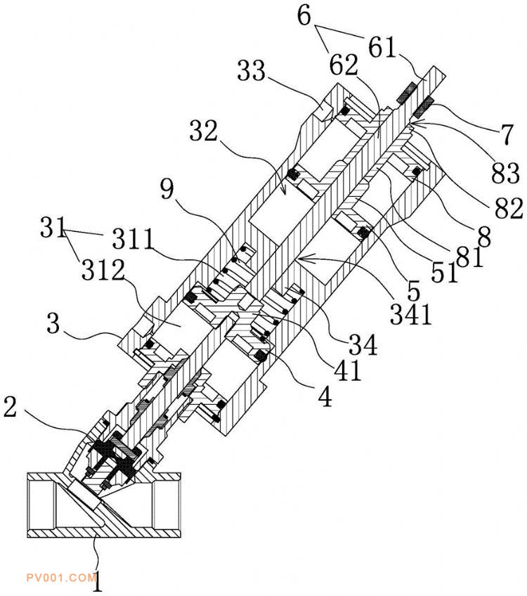
专利摘要:公开(公告)日:2020-05-08摘要:本发明提供了一种气动缓冲角座阀,属于阀门技术领域。它解决的是现有气动角座阀无法精确调控流量的问题。本发明包括能通过滑动控制阀体启闭的阀芯组件和连接在阀芯组件上的缸体,缸体内具有内腔一,内腔一内设有用于带动阀芯组件滑动的活塞一,缸体内还具有内腔二,内腔二内滑动设有活塞二,活塞二内穿设有与活塞二固连的顶杆,顶杆上端穿过内腔二顶壁并伸出缸体外且其上设置有用于调节活塞二最大行程的限位件,顶杆下端伸入内腔一内且能与活塞一上端面抵靠,活塞二上侧的内腔二侧壁上还开设有进气孔。本发明能实现对阀芯组件的开启高度进行精确调节达到控制阀体内流量的作用。