当前位置:首页 > 专利资讯 > 正文

【专利】带切割的排污泵无堵进水管(专利号:201711260147.4;107975479B)

来源:互联网 时间:2020-5-15 09:24 点击:121
专利号:201711260147.4;107975479B
专利状态:有权
专利类型:[发明授权]
专利申请人:江苏凯泉泵业制造有限公司
专利分类号:F04D7/04(20060101)
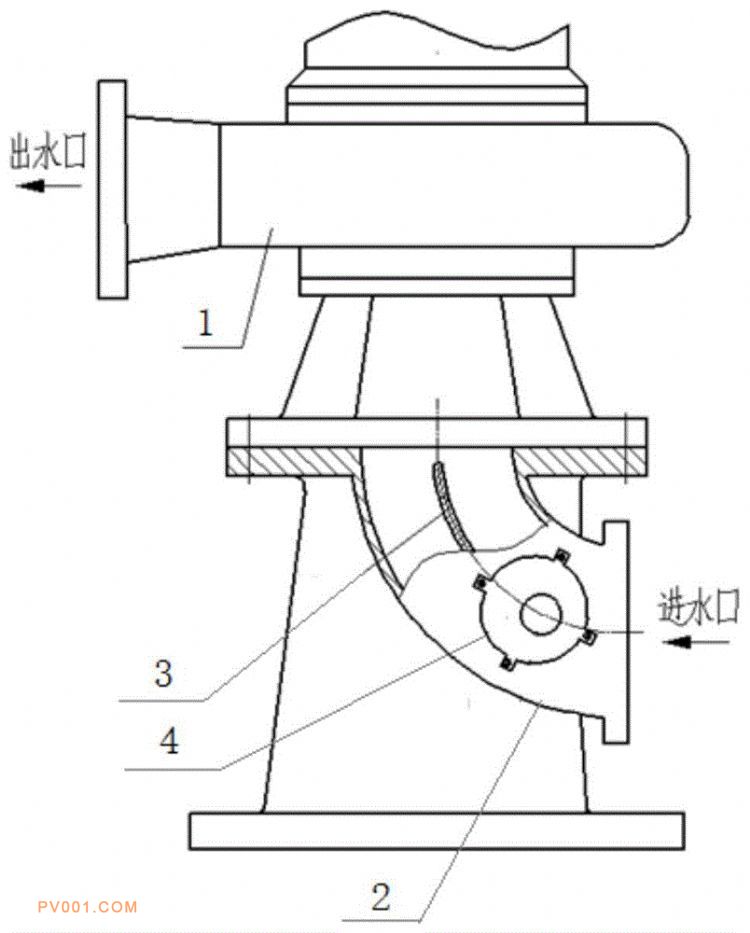
专利摘要:公开(公告)日:2020-05-01摘要:本发明公开了一种带切割的排污泵无堵进水管,包括与所述排污泵进水口连接的进水弯管,沿所述进水弯管流道的中心流线处设有将其分为上、下两分流道的导流筋,且所述进水弯管侧边设有能够吸入并切碎污物的圆槽状切割室,所述切割室内设有配合使用的静刀和动刀。本发明的带切割的排污泵无堵进水管能够稳定大流量进水流态,高效对导流筋进口边上纤维等缠绕污物吸入并进行切割处理,适用于大流量的排污,且排污效率高、功能多样。