当前位置:首页 > 专利资讯 > 正文

【专利】水泵水轮机推力轴承油槽盖板密封装置(专利号:201911299403.X)

来源:互联网 时间:2020-5-15 08:47 点击:116
专利号:201911299403.X
专利状态:审中-公开
专利类型:[发明]
专利申请人:国家电网有限公司
专利分类号:国网新源控股有限公司
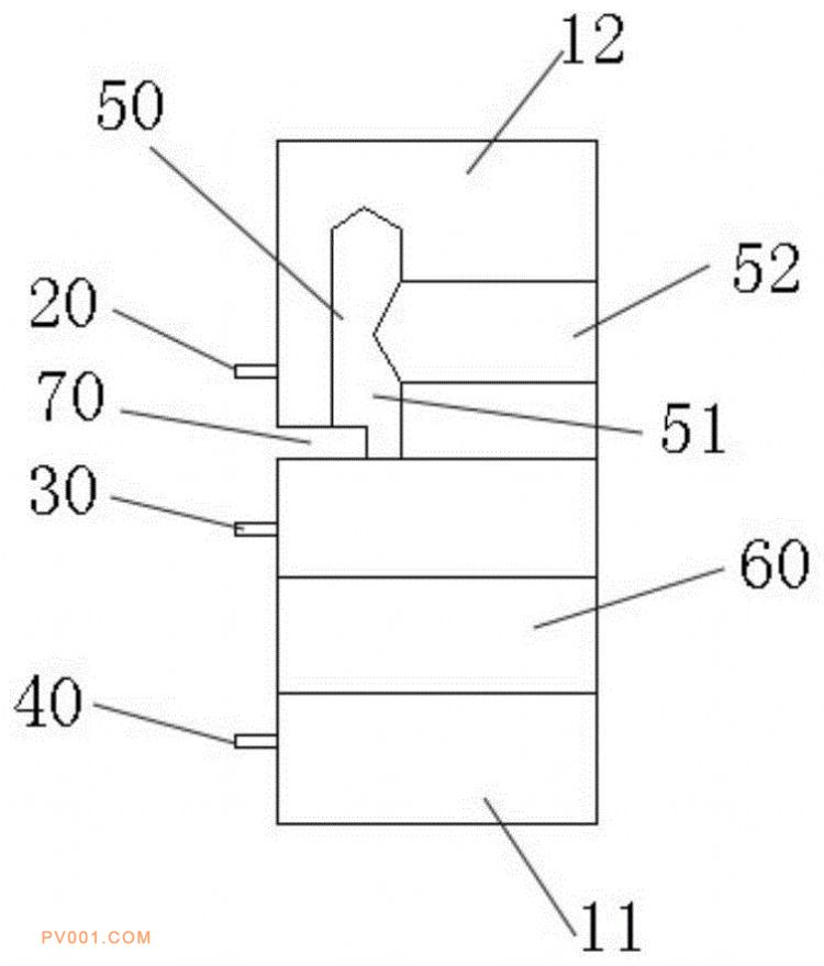
专利摘要:公开(公告)日:2020-05-01摘要:本发明提出一种水泵水轮机推力轴承油槽盖板密封装置,涉及水泵水轮机推力轴承设备领域,该水泵水轮机推力轴承油槽盖板密封装置具有装置本体,装置本体开设有上下贯通的安装腔,安装腔的内壁上安装有沿其周向设置的第一密封环、第二密封环和第三密封环,第一密封环、第二密封环和第三密封环由上至下顺序间隔排列,第一密封环和第二密封环之间具有气密封间隔,第二密封环和第三密封环之间具有吸油雾间隔,装置本体的侧壁内开设有用于连通气密封间隔和气源的供气通道,供气通道呈折弯状,装置本体的侧壁内还开设有用于连通吸油雾间隔和油雾回收装置的吸油雾通道。该密封装置能够有效防止油雾扩散。