当前位置:首页 > 专利资讯 > 正文

【专利】高强度防爆隔热漩涡式气泵(专利号:201711404231.9;108397421B)

来源:互联网 时间:2020-5-14 14:59 点击:131
专利号:201711404231.9;108397421B
专利状态:有权
专利类型:[发明授权]
专利申请人:浙江格凌实业有限公司
专利分类号:F04D29/58(20060101)
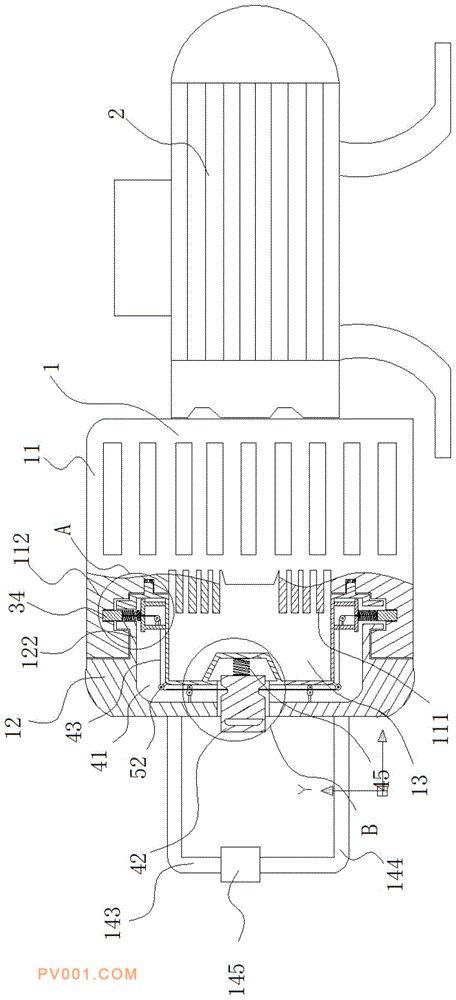
专利摘要:公开(公告)日:2020-05-05摘要:本发明公开了一种高强度防爆隔热漩涡式气泵,包括壳体、叶轮及驱动件;所述壳体包括与所述叶轮相配合的第一壳体和与所述第一壳体可拆卸连接的第二壳体;所述第一壳体与第二壳体间设有散热腔,所述散热腔内设有冷却液。本发明设置冷却液可将泵体热量吸收,降低泵体温度,泵体更好压缩气体;还可无视区域,增加气泵工作场所,方便使用;第一壳体和第二壳体可拆卸,便于将第二壳体卸下,该设置方式不但可保证环境温度高时,能有效散热,还可保证环境温度低时,减缓散热,保持泵体内温度适中,提高泵体压缩气体效率,无需冷却液,节省能源消耗。