当前位置:首页 > 专利资讯 > 正文

【专利】用于将燃料、优选柴油供送至内燃机的泵单元(专利号:201580070435.6;107110092B)

来源:互联网 时间:2020-5-14 08:41 点击:154
专利号:201580070435.6;107110092B
专利状态:有权
专利类型:[发明授权]
专利申请人:罗伯特·博世有限公司
专利分类号:F02M59/06(20060101)
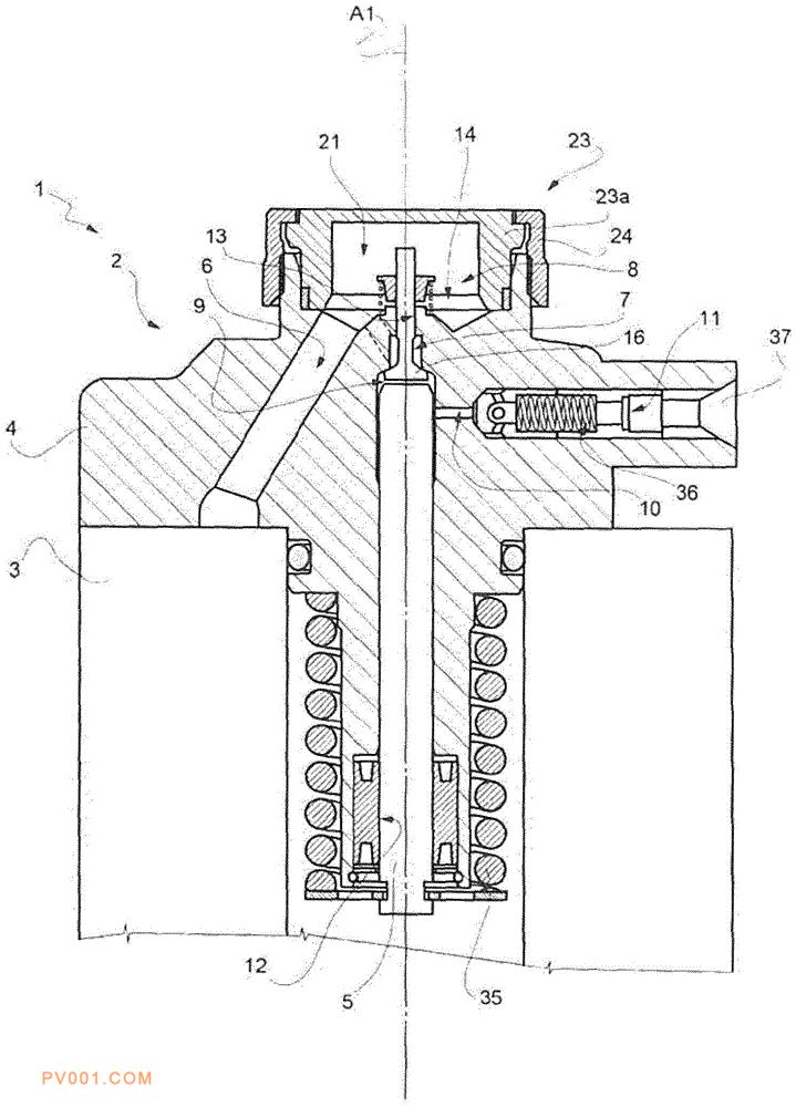
专利摘要:公开(公告)日:2020-05-05摘要:一种泵单元,其用于将燃料、优选柴油供送至内燃机;所述泵单元(1)包括:头部(4),沿着轴线(Al)延伸的缸体(12)形成在所述头部(4)内;泵送活塞(5),其沿着所述轴线(A1)延伸并与缸体(12)滑动地耦接;通孔(13),其从缸体(12)朝着泵单元(1)的外侧延伸;进给室(8),其通过孔(13)与缸体(12)连通;进给阀(7),其控制从进给室(8)到孔(13)的燃料流动;盖帽(23;123;223),其连接至头部(4),布置在泵送活塞(5)的相反侧上,且能够沿着头部(4)的外表面(25)选择性地固定,以便在一侧上关闭进给室(8)。