当前位置:首页 > 专利资讯 > 正文

【专利】一种新型套管式地源热泵地埋管(专利号:201921028249.8)

来源:互联网 时间:2020-5-14 08:03 点击:144
专利号:201921028249.8
专利状态:有权
专利类型:[实用新型]
专利申请人:山东方亚地源热泵空调技术有限公司
专利分类号:F25B30/06(20060101)
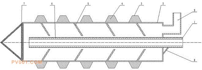
专利摘要:公开(公告)日:2020-05-05摘要:本实用新型涉及地源热泵技术领域,特别涉及一种新型套管式地源热泵地埋管,包括中空且下端密封的外管及两端开口且固定于所述外管内同轴位置的内管。外管外表面为外螺旋,外螺纹内填充导热介质,内表面安装有多个丁腈橡胶材质的单向瓣膜,外管上端面开有出水口,下端面安装有与所述外管外径相同的导向锥,内管外表面设有保温层,内管上端高于所述外管上端面,且外表面与外管上端面间有加强筋。本实用新型能够有效地提高地埋管与外界之间的热传递效率,提升地埋管的密封性与可靠性,从而提高地源热泵的效率。