当前位置:首页 > 专利资讯 > 正文

【专利】一种燃油泵的回流装置(专利号:201921370959.9)

来源:互联网 时间:2020-5-13 15:49 点击:147
专利号:201921370959.9
专利状态:有权
专利类型:[实用新型]
专利申请人:浙江高阳汽车电子有限公司
专利分类号:F02M37/00(20060101)
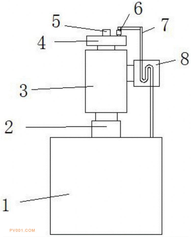
专利摘要:公开(公告)日:2020-05-05摘要:本实用新型公开了一种燃油泵的回流装置,包括储油箱、燃油泵本体、回油管和冷却装置,所述储油箱上部设有增压器,所述增压器上部设有燃油泵本体,所述燃油泵本体通过增压器与储油箱相连通,所述燃油泵本体上部设有托架,所述托架上部设有出油孔,所述出油孔右侧设有回油孔,该一种燃油泵的回流装置,燃油通过燃油泵本体的出油孔流入供油管道内,多余的燃油通过回油管重新流入储油箱内,回油管中部为U形管道,可以有效防止回油管内的燃油回流,且延长了回油管的长度,增加了燃油的冷却时间,U形管贯穿散热装置与凹槽之间相互固定,回油管裸露在散热装置外部,启动散热扇将回油管内的燃油热量快速带走。