当前位置:首页 > 专利资讯 > 正文

【专利】一种应用于低产井的电潜泵回流举升装置及回流举升方法(专利号:201911371208.3)

来源:互联网 时间:2020-5-13 15:42 点击:159
专利号:201911371208.3
专利状态:审中-公开
专利类型:[发明]
专利申请人:东北石油大学
专利分类号:F04D13/08(20060101)
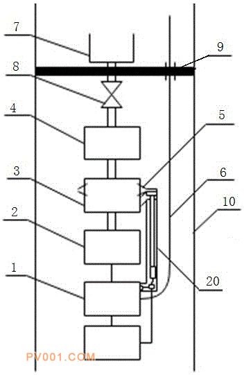
专利摘要:公开(公告)日:2020-05-05摘要:本发明涉及的是一种应用于低产井的电潜泵回流举升装置及回流举升方法,其中应用于低产井的电潜泵回流举升装置包括潜油电泵、电潜泵保护器、气水分离器、多级离心泵、油管、液体回流阀、温控阀门系统,液体回流阀设置在气水分离器管壁上;温控阀门系统包括井下发电机、线路板、旋转阀门、电机,潜油电泵处设置温度传感器,温度传感器连接线路板,线路板连接电机,电机输出轴向上延伸至气水分离器侧面,电机输出轴上端连接有旋转阀门,旋转阀门控制液体回流阀流量,井下发电机短接在潜油电泵下方。本发明在保证低产井采出液量的同时可以有效降低潜油电泵温度,解决了海洋采油平台上电动潜油离心泵在开采过程中温度过高的问题。