当前位置:首页 > 专利资讯 > 正文

【专利】一种新型自吸排污泵前盖(专利号:201911393756.6)

来源:互联网 时间:2020-5-13 11:37 点击:135
专利号:201911393756.6
专利状态:审中-公开
专利类型:[发明]
专利申请人:安徽埃斯克制泵有限公司
专利分类号:F04D29/40(20060101)
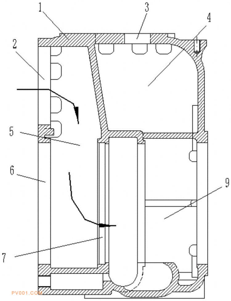
专利摘要:公开(公告)日:2020-05-05摘要:本发明属于泵技术领域,具体涉及一种新型自吸排污泵前盖,包括泵体,所述泵体内设有进水腔、自吸腔和排水腔,所述进水腔、自吸腔和排水腔之间相互连通,位于进水腔上端的所述泵体上设有与进水腔相连通的进水口,位于进水腔与自吸腔连接处的所述自吸腔进口处设有连接口,与连接口相对齐的所述泵体上设有排污口,所述排污口上设有相连接的前盖板,所述前盖板中部设有除渣口,且前盖板外侧设有固定连接且用于除渣口密封的挡板,所述连接口处设有相连接的后盖板,所述后盖板中部设有过滤口,且后盖板与前盖板之间设有相连接的连接块,有效的改变了水流的通畅性,继而能够有效提高水泵性能发挥。