当前位置:首页 > 专利资讯 > 正文

【专利】一种管道离心泵用连接固定组件(专利号:201921507829.5)

来源:互联网 时间:2020-5-12 11:45 点击:104
专利号:201921507829.5
专利状态:有权
专利类型:[实用新型]
专利申请人:四川三台剑门泵业有限公司
专利分类号:F16M11/04(20060101)
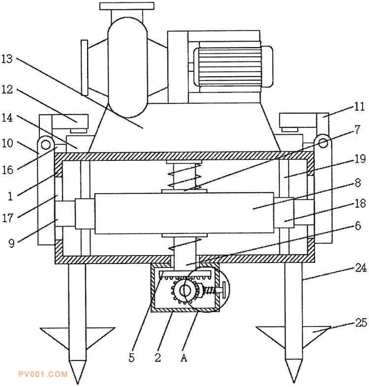
专利摘要:公开(公告)日:2020-05-08摘要:本实用新型公开了一种管道离心泵用连接固定组件,包括底座,所述底座的底部焊接有配件箱,所述配件箱内腔的背面轴承支撑有转杆,所述转杆的表面焊接有主动齿,所述主动齿的顶部啮合有从动齿,所述从动齿顶部的轴心处焊接有丝杆,所述丝杆的顶端依次贯穿配件箱和底座并延伸至底座的外部与底座内腔的顶部轴承支撑。本实用新型通过底座、配件箱、转杆、主动齿、从动齿、丝杆、套筒、承载板、连接块、竖板、连接板和卡板的设置,达到了方便安装的效果,同时解决了现有的离心泵安装方式基本为螺栓紧固安装,这种安装方式需要用到配套的工具,并且整个安装过程需要耗费大量的时间,进而影响了工人安装效率的问题。