当前位置:首页 > 专利资讯 > 正文

【专利】一种多功能型多管式地下水专用水泵(专利号:201921338296.2)

来源:互联网 时间:2020-5-12 08:55 点击:135
专利号:201921338296.2
专利状态:有权
专利类型:[实用新型]
专利申请人:邢台盛懋电镀有限公司
专利分类号:F04D13/06(20060101)
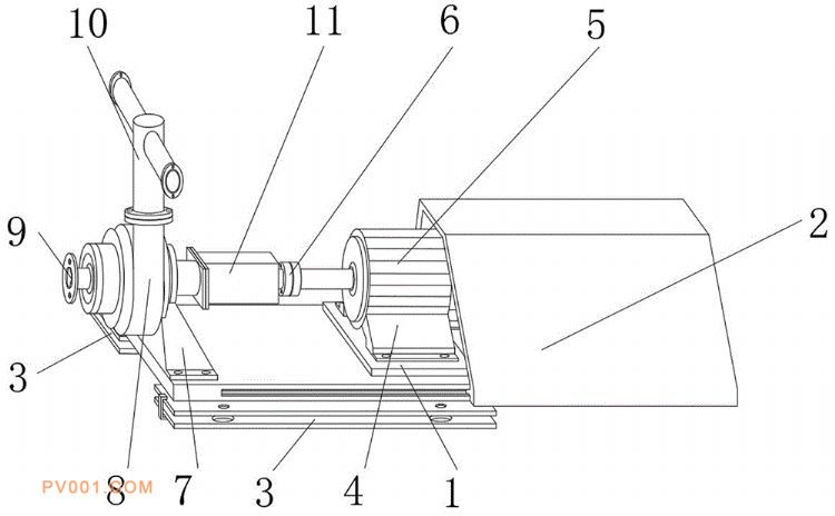
专利摘要:公开(公告)日:2020-05-08摘要:本实用新型公开了一种多功能型多管式地下水专用水泵,包括底座,所述底座下端固定连接有遮挡防护装置,所述遮挡防护装置下端前部和后部均固定安装有固定减震装置,所述底座上端活动连接有电机座,所述电机座上端固定安装有电机,所述电机输出端固定连接有传动装置,所述遮挡防护装置上端左部活动连接有水泵座,所述水泵座上端固定安装有离心泵,所述离心泵左端焊接有进水管,所述离心泵上端固定安装有双向出水管,所述离心泵右端与传动装置活动连接在一起,且离心泵右端外部套有防护盒。本实用新型所述的一种多功能型多管式地下水专用水泵,结构简单,能够有效防护水泵在户外的工作,并且可以减弱工作时产生的抖动,起到减震效果。