当前位置:首页 > 专利资讯 > 正文

【专利】一种机动车双向转动油泵(专利号:202010080605.1)

来源:互联网 时间:2020-5-11 10:52 点击:162
专利号:202010080605.1
专利状态:审中-公开
专利类型:[发明]
专利申请人:富奥汽车零部件股份有限公司
专利分类号:F04C2/10(20060101)
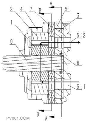
专利摘要:公开(公告)日:2020-05-08摘要:本发明公开一种机动车双向转动油泵;在换向板设有两个油道、两个换向板油孔;油泵盖上具有进油孔、出油孔;配油盘上具有两个油槽;换向板O形圈与泵轴滑动磨擦配合;泵轴驱动容积变化组件转动,容积变化组件在油泵体腔室内产生容积变化;驱动轴初始转动和每次初始换向转动时,驱动轴与换向板O形圈间磨擦力大于剪切力,换向板可随驱动轴转动;换向板限位销控制限定换向板转动角度;换向板经限位销限位,泵轴在换向板O形圈间转动;油泵在顺时针旋转与逆时针旋转时,换向板自动切换吸油腔、输油腔与进、出油孔的连接;满足改变旋转方向的情况下向系统供油;本发明实现了油泵在驱动旋向发生改变后,不用改变油泵的进油口、出油口方向的情况下正常为系统供油。