当前位置:首页 > 专利资讯 > 正文

【专利】一种用于旋塞阀的阀门密封面加强装置(专利号:201921207052.0)

来源:互联网 时间:2020-5-7 10:20 点击:148
专利号:201921207052.0
专利状态:有权
专利类型:[实用新型]
专利申请人:江苏金陵安全技术有限公司
专利分类号:F16K5/04(20060101)
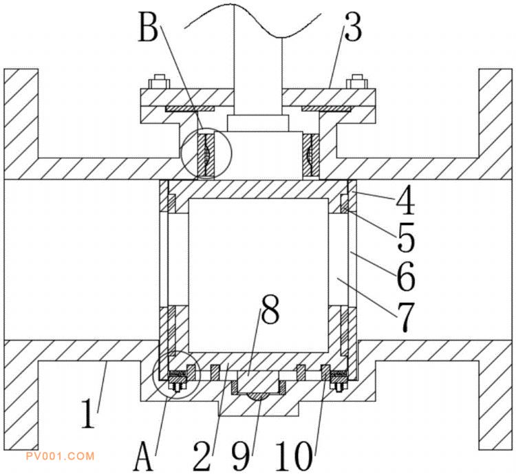
专利摘要:公开(公告)日:2020-04-17摘要:本实用新型涉及旋塞阀阀门密封技术领域,具体为一种用于旋塞阀的阀门密封面加强装置,包括阀体,阀体的内部设有旋塞,阀体的顶端螺栓连接阀盖,阀体的内侧壁贴合设有旋塞衬套,旋塞衬套胶接固定在阀体上,且旋塞衬套的左右两侧均贯穿开设有第一开口,旋塞的左右两侧均贯穿开设有第二开口,且第一开口与第二开口对齐,旋塞的底端中央一体成型设有旋转柱,有益效果为:本实用在旋塞的底端设置有旋转柱和旋转塞,在阀体的内部底端设有有定位环,其中旋转柱和旋转塞均嵌入在阀体内部底端的旋转腔内,而定位环则嵌入在旋塞底端的定位槽内,以此确保旋塞的稳定性,相比传统技术,本实用中的旋塞稳定性更好,不易发生晃动。