当前位置:首页 > 专利资讯 > 正文

【专利】一种新型稳流阀(专利号:201921266707.1)

来源:互联网 时间:2020-5-6 09:15 点击:151
专利号:201921266707.1
专利状态:有权
专利类型:[实用新型]
专利申请人:浙江中伟液压科技有限公司
专利分类号:F16K17/06(20060101)
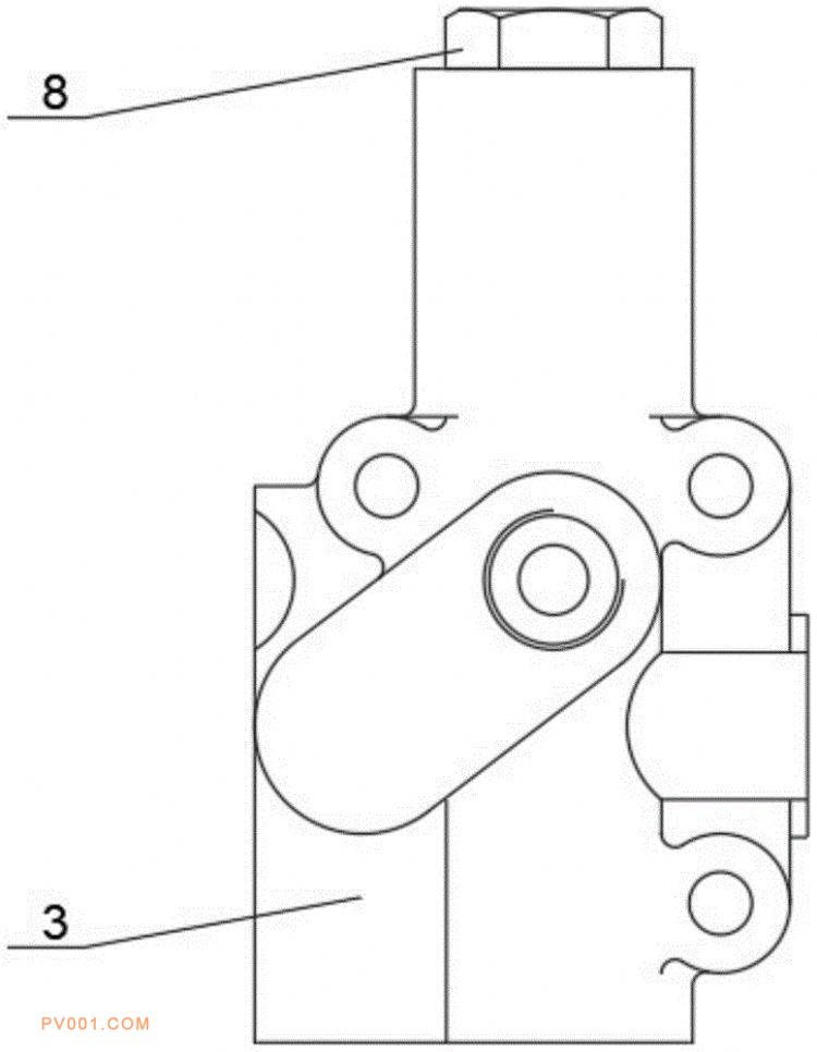
专利摘要:公开(公告)日:2020-04-17摘要:本实用新型公开了一种新型稳流阀,包括孔用弹性挡圈和阀块,所述阀块的内腔的下部设置有阀芯,所述阀芯的上端设置有阀芯盖,所述阀芯盖的上方设置有弹簧上支撑座,所述阀块的上端端口处设置有螺帽。本实用新型结构紧凑,体积小,可以根据用户要求对阀芯阻尼口的大小与弹簧力大小的调节实现不同的稳定流量输出,及压力控制,阀块的材质采用高强度铝合金,铝合金成本低、结构强度大、重量轻,不但提高了本装置的使用寿命,还减轻了本装置的整体重量。