当前位置:首页 > 专利资讯 > 正文

【专利】微通道扁管、换热器和热泵系统(专利号:201921019588.X)

来源:互联网 时间:2020-5-6 09:14 点击:120
专利号:201921019588.X
专利状态:有权
专利类型:[实用新型]
专利申请人:广东美的暖通设备有限公司
专利分类号:美的集团股份有限公司
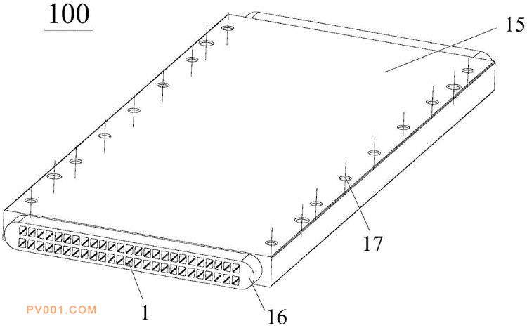
专利摘要:公开(公告)日:2020-04-17摘要:本实用新型公开了一种微通道扁管、换热器和热泵系统,涉及换热设备技术领域。该微通道扁管(100)内设沿所述微通道扁管(100)的长度方向延伸的多个微通道(1),在所述微通道扁管(100)的扁管横截面上,多个所述微通道(1)沿所述扁管横截面的厚度方向依次间隔排列成n1行且沿所述扁管横截面的宽度方向依次间隔排列成n2列,n1和n2均不小于2。本实用新型的微通道扁管(100)、换热器(300)和热泵系统的微通道扁管(100)和换热器(300)的内部换热面积大、换热效率高,可以实现不停机化霜并快速制热,提高用户的使用满意度。