当前位置:首页 > 专利资讯 > 正文

【专利】汽车水泵总成(专利号:201921514341.5)

来源:互联网 时间:2020-5-6 09:09 点击:145
专利号:201921514341.5
专利状态:有权
专利类型:[实用新型]
专利申请人:玉环鸿泽汽车泵业有限公司
专利分类号:F04D29/10(20060101)
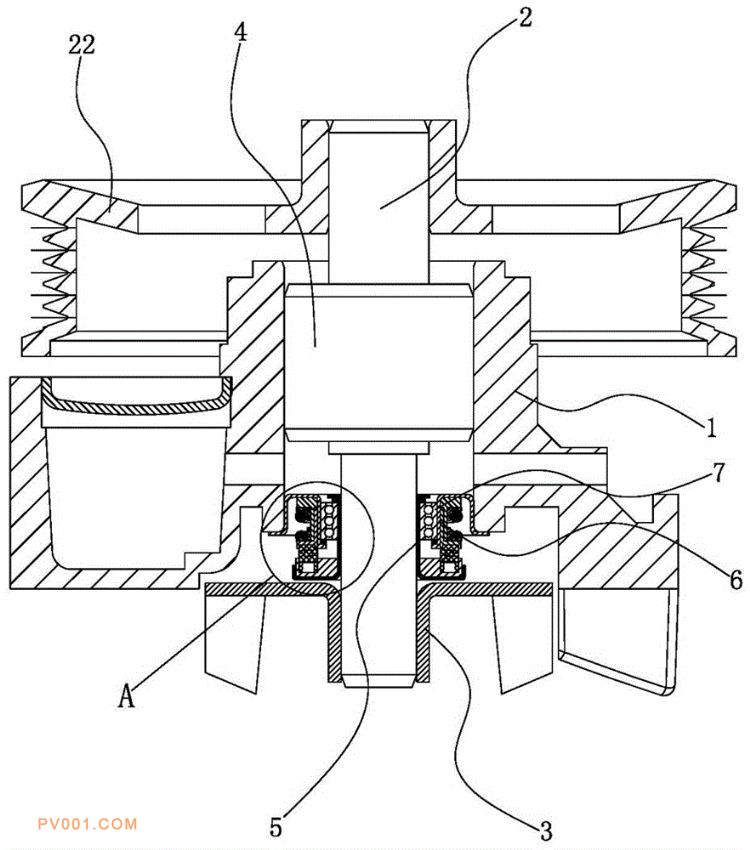
专利摘要:公开(公告)日:2020-04-17摘要:本实用新型提供了汽车水泵总成,属于汽车配件技术领域。它解决了现有的汽车水泵的水密封装置的结构复杂,密封效果差的问题。本汽车水泵总成包括泵体以及设置在泵体内的泵轴、叶轮,叶轮固定在泵轴的端部,泵轴和泵体之间设置有轴承一且该泵轴通过轴承一与泵体转动连接,叶轮和轴承一之间的泵轴上固设有下环形座,泵体内设置有上环形座,下环形座穿设在上环形座内且该两者之间设置有轴承二,下环形座通过轴承二与上环形座转动连接,下环形座的下端外翻形成抵靠座,上环形座和抵靠座之间设置有轴向密封抵靠装置。本实用新型结构设计合理、简单,密封效果较好、能提高汽车水泵整体使用效果,使用寿命长。