当前位置:首页 > 专利资讯 > 正文

【专利】一种混流泵(专利号:201921131580.2)

来源:互联网 时间:2020-5-6 09:01 点击:93
专利号:201921131580.2
专利状态:有权
专利类型:[实用新型]
专利申请人:山东鲁源泵业有限公司
专利分类号:F04D29/18(20060101)
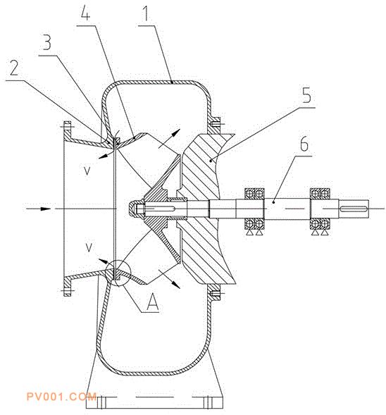
专利摘要:公开(公告)日:2020-04-17摘要:本实用新型公开了一种混流泵,包括泵体,泵体上位于进水口内侧处设有泵体端面密封环,泵轴上安装有叶轮,叶轮前盖板上设有与泵体端面密封环对应设置的叶轮端面密封环,所述泵体端面密封环及叶轮端面密封环端面上均设有数道环形节流槽。本实用新型由于在泵体端面密封环及叶轮端面密封环端面上均设有数道环形节流槽,增加了液体沿程损失,增加泄漏阻力,减少液体的泄漏量,提高了泵的效率。经试验验证,通常可减少一半的泄漏量,使泄漏量v由5%左右降低为2%?3%左右,由此可提高泵效率2%?3%左右。