当前位置:首页 > 专利资讯 > 正文

【专利】一种新型阀门扳手(专利号:201920642778.0)

来源:互联网 时间:2020-5-5 14:44 点击:142
专利号:201920642778.0
专利状态:有权
专利类型:[实用新型]
专利申请人:山东鲁泰化学有限公司
专利分类号:山东鲁泰控股集团有限公司
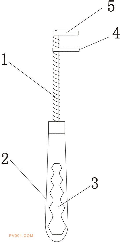
专利摘要:公开(公告)日:2020-04-17摘要:一种新型阀门扳手,包括握持杆,位于握持杆顶面,固定设有调整杆,所述调整杆外壁一体注塑有螺纹;位于调整杆上顶面,转动设置有第一横杆,位于调整杆上,螺接设置有第二横杆,所述第一横杆与第二横杆平行设置。本实用新型结构简单,使用方便,造价低廉且易于维修维护。通过简单的结构实现了扳手多用,对于多数型号的门轮,阀门均可灵活适应。并且带有通槽的握持杆可以增加本设备使用灵活度,可作为加力杆插槽,并且能够辅助拧动螺母类旋钮。