当前位置:首页 > 专利资讯 > 正文

【专利】一种汽车水泵用离合器(专利号:201911070883.2)

来源:互联网 时间:2020-5-4 10:24 点击:124
专利号:201911070883.2
专利状态:审中-公开
专利类型:[发明]
专利申请人:安徽昊方机电股份有限公司
专利分类号:F16D27/08(20060101)
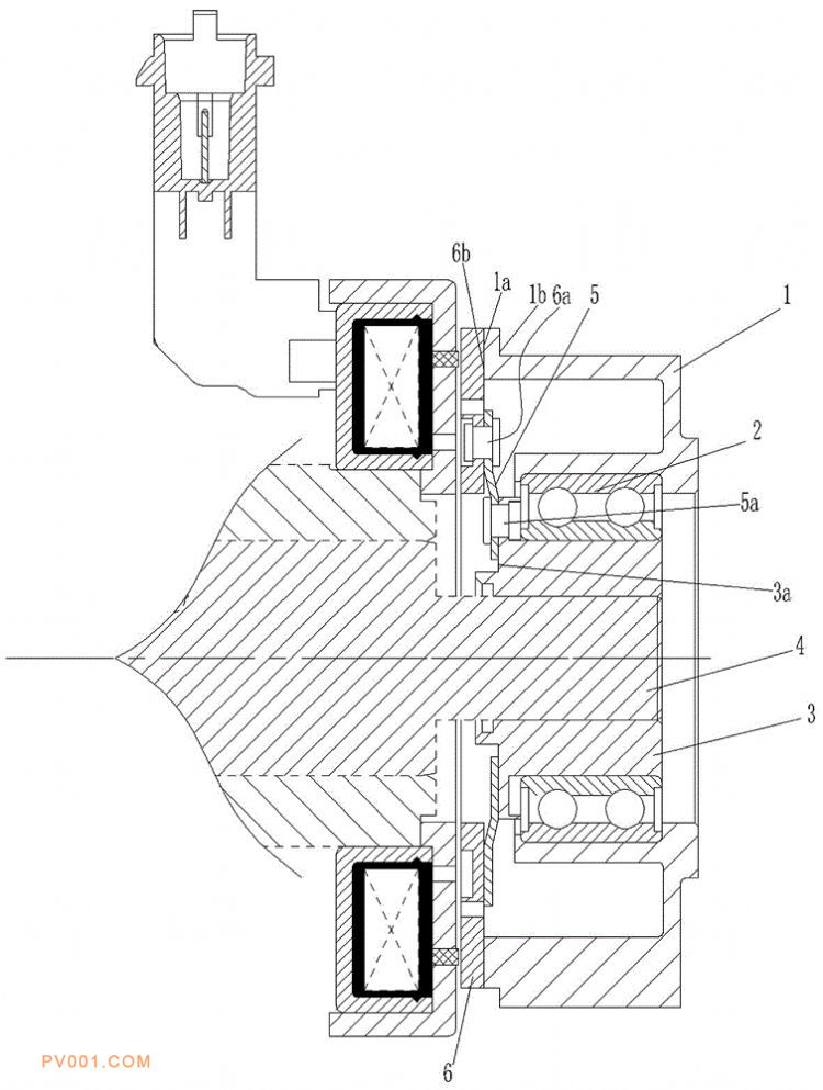
专利摘要:公开(公告)日:2020-04-17摘要:本发明提供一种汽车水泵用离合器,它包括带轮(1),其特征在于:在带轮(1)内通过轴承(2)套接有带轮内环(3),在带轮内环(3)中套设有对应配合的水泵轴(4),在带轮内环(3)一端依次设有簧片(5)、第一吸盘(6)以及第二吸盘(7),在第二吸盘(7)上设有电磁线圈总成(8)。本发明结构简单、使用方便、制造成本低廉,可以快速的断开水泵动力源。