当前位置:首页 > 专利资讯 > 正文

【专利】一种电子膨胀阀、调节方法以及空调器(专利号:201911129954.1)

来源:互联网 时间:2020-4-30 08:06 点击:119
专利号:201911129954.1
专利状态:审中-公开
专利类型:[发明]
专利申请人:宁波奥克斯电气股份有限公司
专利分类号:奥克斯空调股份有限公司
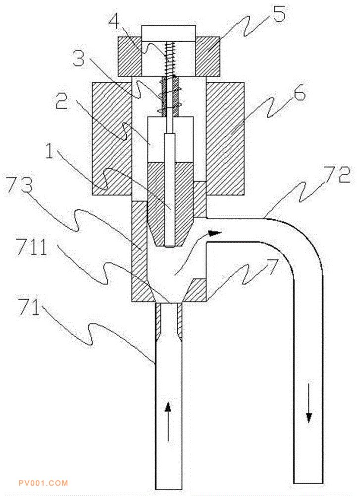
专利摘要:公开(公告)日:2020-04-17摘要:本发明涉及一种电子膨胀阀、调节方法以及空调器。电子膨胀阀包括腔体;所述腔体上设有一级调节组件;所述腔体上设有第二调节组件;所述腔体上设有二级调节组件;所述一级调节组件包括一级调节针座;所述二级调节组件包括二级调节针座;所述二级调节针座设置于所述一级调节针座内部;所述二级调节针座能够进一步通过所述节流孔进入第一气管内,精确调整排气量。该方法包括粗调和精调。因此,当粗调后,排气温度波动仍不满足要求的情况下,二级调节组件能够再次进行精调,使得电子膨胀阀能达到精确控制排气温度的目的。