当前位置:
首页
>
专利资讯
> 正文
【专利】一种增大液压破碎锤打击力的换向阀(专利号:201810711182.1;108869433B)
来源:互联网
时间:2020-4-29 10:51
点击:149
专利号:201810711182.1;108869433B
专利状态:有权
专利类型:[发明授权]
专利申请人:赵德朝
专利分类号:F15B13/04(20060101)
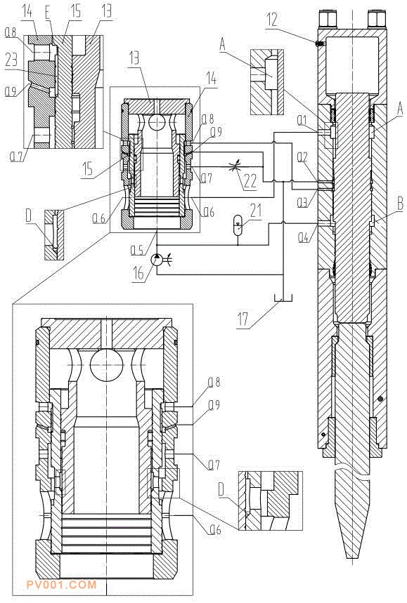
专利摘要:公开(公告)日:2020-04-21摘要:本发明针对液压锤阀组提前换向的弊端,提供一种增大液压破碎锤打击力的换向阀。该阀组避免了活塞回程的过程中,流量
调节阀
(调频螺栓)导致上腔中压力升高,使得阀芯上卸荷槽卸荷不畅的问题,进而避免因活塞和缸体之间的泄露导致阀芯提前换向的现象,即增加了活塞行程,增加了打击力。
上一篇:
【专利】一种用于真空泵蜗壳上的过滤器(专利号:201921474392.X)
下一篇:
【专利】一种新型风泵消声器(专利号:201920787673.4)
专利资讯推荐
更多>>
浙江汇正阀门科技股份有限公司研发的“一种
总投资27.15亿元!内蒙古鄂尔多斯又一重大
2024年03月13日长江镍价格行情参考
2024年03月13日长江锌价格行情参考
2024年03月13日长江铜价格行情参考
2024年03月13日长江铅价格行情参考
2024年03月13日长江铝锭价格行情参考
2024年03月13日长江锡价格行情参考
【专利】一种混凝土地泵管路支撑装置(专利
【专利】混凝土泵车臂架、混凝土泵车臂架组
【专利】新型电动充气泵主体、内置式气泵和
【专利】一种泵驱动轮的端面成型槽刀(专利
【专利】一种便于检修的预制泵站筒体(专利
【专利】车载充气泵(T018D)(专利号:20203
【专利】取水泵船仿古屋顶(专利号:20193058
【专利】一种大流量耐腐蚀旋转泵(专利号:20
【专利】一种车用热泵空调系统(专利号:2019
【专利】一种变频地源热泵(专利号:20192235
【专利】一种自清洗型水泵(专利号:20192208
【专利】一种地源热泵中央空调机组减震安装