当前位置:首页 > 专利资讯 > 正文

【专利】一种牛奶加工用牛奶泵(专利号:201920961368.2)

来源:互联网 时间:2020-4-28 13:50 点击:135
专利号:201920961368.2
专利状态:有权
专利类型:[实用新型]
专利申请人:青海高原之宝牦牛乳业有限公司
专利分类号:F04D13/06(20060101)
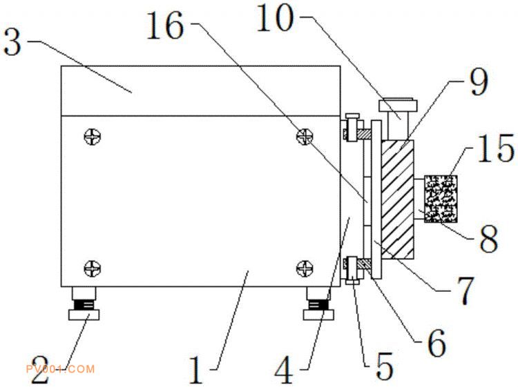
专利摘要:公开(公告)日:2020-04-21摘要:本实用新型公开了一种牛奶加工用牛奶泵,包括电机和电机顶盖,所述电机的输出端连接有驱动轴,所述驱动轴的外表面套接有驱动轴法兰盘,所述驱动轴法兰盘的外侧开设有螺纹槽,该种牛奶加工用牛奶泵,在使用时,工作人员将泵盒体移动至驱动轴旁,使驱动轴贯穿第一通孔,连接杆贯穿驱动轴法兰盘,然后工作人员将锁紧螺栓插入螺纹槽中,并贯穿第二通孔,从而将泵盒体法兰盘固定,该种方式可以实现泵盒体的快速拆装,并且在加工法兰盘时只需要在驱动轴法兰盘的外侧开设螺纹槽,在泵盒体法兰盘的一侧安装连接杆,加工方式简单快捷,当牛奶泵工作完成后,使用者可以将套管拆卸进行杀菌消毒处理,方便快捷。