当前位置:首页 > 专利资讯 > 正文

【专利】一种离心泵水循环防掉压装置(专利号:201921071386.X)

来源:互联网 时间:2020-4-28 09:05 点击:119
专利号:201921071386.X
专利状态:有权
专利类型:[实用新型]
专利申请人:宁德师范学院
专利分类号:F04D1/00(20060101)
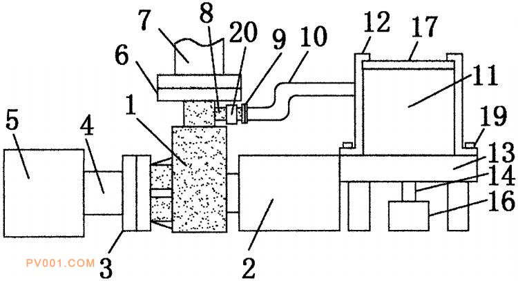
专利摘要:公开(公告)日:2020-04-21摘要:本实用新型公开了一种离心泵水循环防掉压装置,涉及到离心泵领域,包括泵体,泵体的一侧固定连接有电动机,泵体的另一侧通过第一法兰固定连接吸水管的一端,吸水管的另一端固定连接有水池,泵体的顶部通过第二法兰固定连接有输送管,泵体的顶部一侧固定连接有支水管,支水管的一端通过第三法兰固定连接输水管的一端,输水管的另一端固定连接有备用水罐,备用水罐的两侧均固定安装有限位夹板,备用水罐的底端贴合连接底座的上表面。本实用新型通过在泵体上设置支水管,并且通过支水管和输水管的配合使用,能够便于给泵体输水,通过在支水管上设置止回阀,能够防止水产生倒流,再次通过输水管进入备用水罐内。