当前位置:首页 > 专利资讯 > 正文

【专利】电子膨胀阀(专利号:201921251738.X)

来源:互联网 时间:2020-4-28 08:58 点击:144
专利号:201921251738.X
专利状态:有权
专利类型:[实用新型]
专利申请人:中山市港利制冷配件有限公司
专利分类号:F25B41/06(20060101)
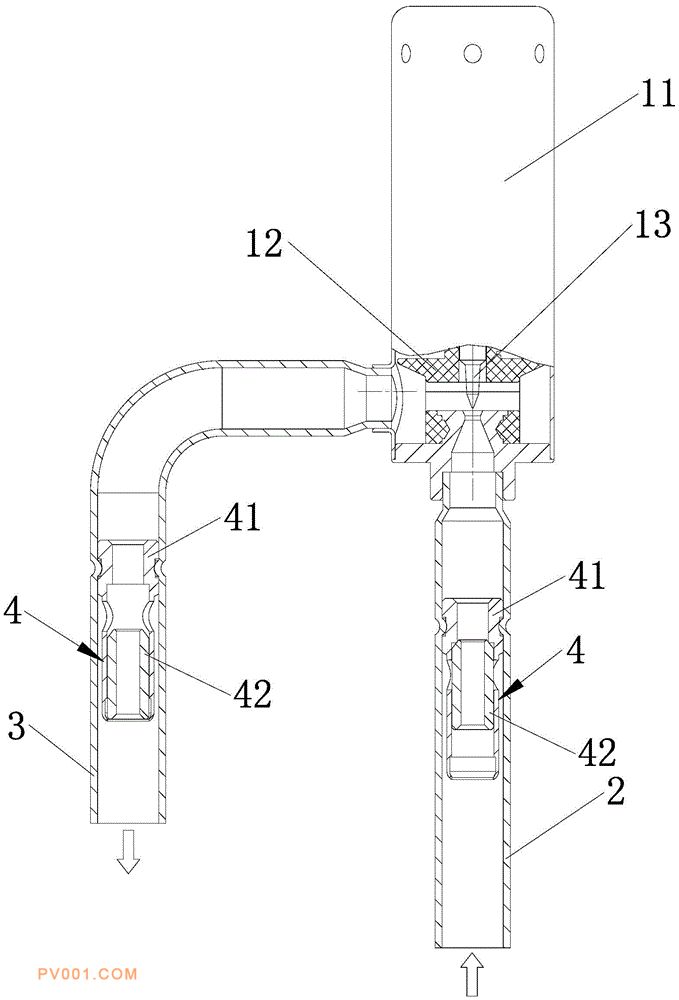
专利摘要:公开(公告)日:2020-04-21摘要:一种电子膨胀阀,包括阀主体、分别连接在该阀主体的下端和侧壁上的直管和侧管,在所述直管和侧管内均设有节流装置,其包括中空的筒体和装在该筒体内的中空的节流筒,在所述筒体内设有供该节流筒在其内直线移动的滑动通道;所述筒体内壁在该滑动通道里、外端的位置处分别设有里、外挡位;当所述节流筒滑进到滑动通道的里端时该节流筒堵住该控流孔,而当所述节流筒滑到滑动通道的外端时该节流筒打开该控流孔;所述筒体在该控流孔以下的那一段外壁与该直管和侧管对应的内壁之间形成支流通道。本膨胀阀的结构更合理、流体音更小、成本更低、更省空间和性能可靠。